Дроны сегодня являются весьма перспективной технологией для транспортировки небольших грузов. Но пока еще не все здесь гладко: необходимо решить ряд таких проблем, как ограниченное время полета, риск воровства и слишком сложные процедуры передачи грузов.
Чтобы расширить диапазон применения дронов и предотвратить пропажу товаров, компания IBM запатентовала новую систему, которая позволяет двум БПЛА состыковываться друг с другом в воздухе для автономной передачи груза.
По данным патента США № 9561852, компания IBM предполагает, что дрон заказчика будет встречать в воздухе транспортный дрон с целью приема у него посылки, хотя этот вариант воздушной передачи пакета может использоваться и для создания транспортной цепочки. По сути, идея заключается в том, чтобы расширить диапазон действия дронов, упростить создание транспортной сети, используя своего рода принцип воздушной эстафеты — прием посылки в воздухе затруднит их пропажу.
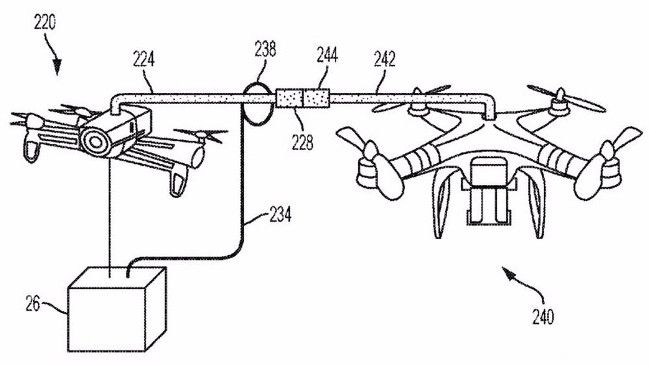
Патент описывает систему, в которой дроны будут иметь на нижней плоскости подвижную направляющую платформу для груза. Между тем, на верхней плоскости дрона будет поворотный рычаг со стыковочным механизмом на конце.
Заказанный товар отправляется со склада заказчику с помощью дрона. Между тем, заказчик может посылать собственный дрон для перехвата транспортного БПЛА в воздухе в какой-то момент на трассе доставки, которая будет выполняться автономно под контролем распределенной компьютерной системы.
При встрече двух дронов в воздухе они выдвигают поворотные рычаги для магнитного соединения и блокировки наконечников, дрон грузоотправителя опускает пакет на выдвижную платформу. Закрепленный на тросе с кольцом груз может смещаться по соединяющей два беспилотника штанге. После стыковки два беспилотника синхронно наклоняются так, что кольцо троса скользит по стыковочной штанге на приемный дрон, увлекая висящий пакет.
После этого кольцо закрепляют на приемном дроне, висящий пакет вытягивают и закрепляют на платформе. Затем происходит расстыковка дронов и каждый из них возвращается на свои стартовые позиции.
«Дроны имеют потенциальные возможности для изменения способов ведения бизнеса. Используя машинное обучение, беспилотники могли бы кардинально изменить электронную коммерцию, - говорит Сарбаджит Ракшит, изобретатель и соавтор патента. - Это позволит обеспечить в развивающихся странах доставку кратчайшим путем почтовых отправлений и медицинских пакетов».

Комментарии
(0) Добавить комментарий